关于印发《辽宁省住房公积金个人住房贷款购房“一件事”实施方案》的通知
- 发布时间:2024年10月30日
- 编辑:李依然
- 来源:
白菜网 〔2024〕77号

关于印发《辽宁省住房公积金个人住房贷款购房“一件事”实施方案》的通知
各省(中)直有关部门,各市有关部门:
现将《辽宁省住房公积金个人住房贷款购房“一件事”实施方案》印发你们,请认真遵照执行。
白菜网 辽宁省公安厅
辽宁省民政厅 辽宁省自然资源厅
辽宁省营商环境建设局 辽宁省高级人民法院
国家税务总局辽宁省税务局 国家税务总局大连市税务局
中国人民银行辽宁省分行 国家金融监督管理总局辽宁监管局
国家金融监督管理总局大连监管局
2024年10月22日
(此件主动公开)
辽宁省住房公积金个人住房贷款购房“一件事”实施方案
为贯彻落实国务院办公厅《关于印发<“高效办成一件事”2024年度新一批重点事项清单>的通知》要求,创新推动我省住房公积金个人住房贷款购房“一件事”开展,制定实施方案如下。
一、总体目标
以高效办成住房公积金个人住房贷款购房“一件事”为目标,创新工作思路,深化要素重组,优化系统功能,强化数字赋能,实现办事方式多元化、办事流程最优化、办事材料最简化、办事成本最小化。按照“减环节、减材料、减时限、减跑动”的要求,实现住房公积金个人住房贷款购房“一件事”,持续提升人民群众的获得感和满意度。详细事项清单如下:
| 主题名称 |
牵头部门 |
涉及事项 |
实施层级 |
联办部门 |
备注 |
| 住房公积金个人住房贷款购房 |
省住建厅 |
房屋交易合同网签备案 |
市 |
住房和城乡建设局 |
|
| 个人身份信息核验 |
省、市、县(区) |
省公安厅 |
责任部门确定实施层级 |
||
| 婚姻信息核验 |
省、市、县(区) |
省民政厅 |
责任部门确定实施层级 |
||
| 征信信息查询 |
省、市、县(区) |
人民银行辽宁省分行 |
责任部门确定实施层级 |
||
| 贷款审批 |
市 |
市住房公积金管理中心、省直住房资金管理中心、各金融监管分局 |
|||
| 贷款合同面签 |
市 |
市住房公积金管理中心、省直住房资金管理中心、各金融监管分局 |
|||
| 房地产交易税费申报 |
省、市、县(区) |
省税务局、大连市税务局 |
责任部门确定实施层级 |
||
| 不动产抵押登记 |
市、县(区) |
市、县不动产登记中心 |
责任部门确定实施层级 |
二、服务对象
符合各市住房公积金个人住房贷款申请条件的本地缴存职工。
三、业务实施
(一)受理条件(牵头部门汇总责任部门需求,确定申报材料等受理条件)
1.申请人需为本方案规定的服务对象;
2.申请人申报材料齐全、准确、真实有效。
(二)申请方式
申请人登录省一体化政务服务平台,进入“高效办成一件事”专区,选择住房公积金个人住房贷款购房“一件事”,进行实名身份认证,阅读办事指南(附件1-3),按照业务要求线上填写并提交《住房公积金个人住房贷款购房“一件事”联办申请表》(附件4)、《住房公积金个人住房贷款购房“一件事”本人信息共享授权书》(附件5)和相关材料,发起联办申请。具体材料清单见《住房公积金个人住房贷款购房“一件事”材料清单》(附件6)。
(三)业务办理
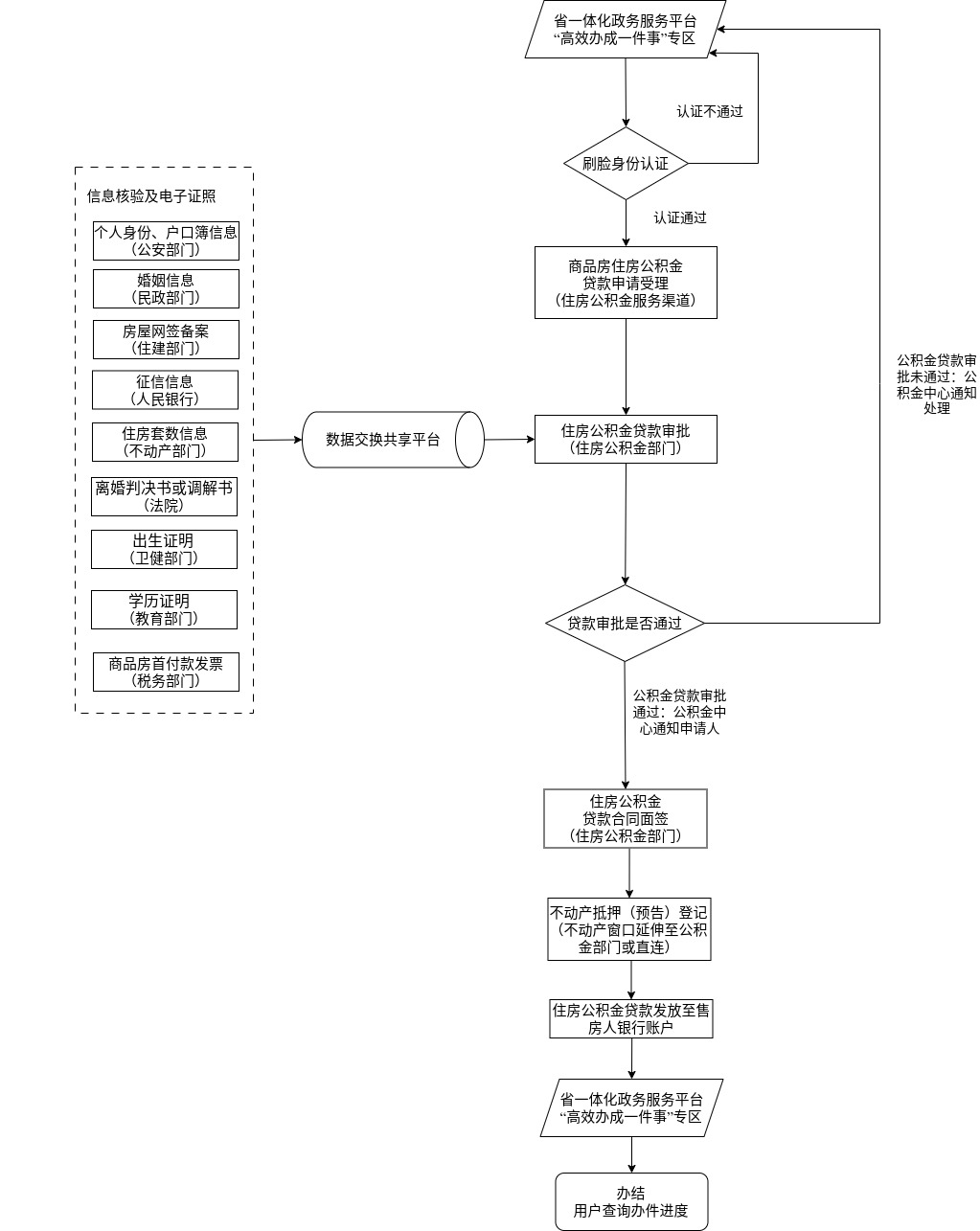
1.新建商品房住房公积金个人住房贷款购房“一件事”业务流程
(1)住房公积金个人住房贷款受理、审批。住房公积金管理部门收到申请、授权、材料后,对个人身份、婚姻、户籍、商品房屋合同网签备案、征信、住房套数等信息进行核查,完成住房公积金个人住房贷款审批。审批通过后住房公积金管理部门将审批结果、面签地点、需要携带的要件材料等信息通知申请人,审批未通过的由公积金部门将未通过原因告知申请人。
(2)贷款合同面签。申请人前往市住房公积金管理部门办理线下合同面签。
(3)不动产抵押(预告)登记。不动产登记部门与市住房公积金管理部门系统接口对接或窗口前置到住房公积金管理部门,在办理完合同面签后直接办理不动产抵押(预告)登记,无需职工跑腿。
(4)住房公积金个人住房贷款资金发放。不动产抵押(预告)登记办理完毕后,住房公积金管理部门将住房公积金个人住房贷款资金发放至售房人银行账户,业务结束。
2.存量房住房公积金个人住房贷款购房“一件事”业务流程
(1)住房公积金个人住房贷款受理、审批。住房公积金管理部门收到申请、授权、材料后,对个人身份、婚姻、存量住房网签备案、户籍、征信、住房套数等信息进行核查,完成住房公积金个人住房贷款审批。审批通过后住房公积金管理部门将审批结果、面签地点、需要携带的要件材料等信息通知申请人,审批未通过的由公积金部门将未通过原因告知申请人。
(2)住房资金监管。公积金管理部门与资金监管部门通过数据共享平台进行对接。贷款审批通过后,公积金部门将帮助采集的材料信息推送至资金监管部门,资金监管部门办理住房资金监管业务,办理完毕后将办理结果和相关信息推送至住房公积金管理部门。
(3)税费申报、转移登记。住房公积金管理部门与税务部门和不动产部门通过数据共享平台进行对接。贷款审批通过后,住房公积金管理部门将帮助采集的材料信息推送至相关部门,税务和不动产部门按照相关政策规定,办理税费申报、转移登记等业务,办理完毕后将办理结果和相关信息推送至住房公积金管理部门,税务部门相关信息由住房公积金管理部门通过数据接口自行查询调用。
(4)贷款合同面签。申请人在办理完转移登记业务后,可前往市住房公积金管理部门办理线下合同面签。
(5)不动产抵押登记。不动产登记部门与住房公积金管理部门系统接口对接或窗口前置到住房公积金管理部门,办理完合同面签后直接办理不动产抵押登记,无需职工跑腿。
(6)住房公积金个人住房贷款资金发放。不动产抵押登记办理完毕后,住房公积金管理部门将住房公积金个人住房贷款资金发放至售房人银行账户。
(四)结果反馈
牵头部门向一体化政务服务平台反馈办理结果。申请人可通过一体化政务服务平台“高效办成一件事”专区进入住房公积金个人住房贷款购房“一件事”,在“我的办件”中查询办理结果。
四、工作职责
省住房城乡建设厅:负责统筹推进住房公积金个人住房贷款购房“一件事”整体工作,组织制定实施方案,明确参与部门、工作机制、实施步骤。推动各地住建部门按照方案要求完成相关工作。
省公安厅:负责“个人身份信息核查”事项,公安部门业务系统将接口挂载到数据共享平台,公积金部门业务系统与数据共享平台中公安部门挂载的接口进行对接,实现数据在公安部门业务系统和公积金部门业务系统间的流转,由公安部门提供住房公积金个人住房贷款购房“一件事”所需身份、户籍、外国人永久居留证信息核验,并提供电子证照。
省民政厅:负责“婚姻信息核查”事项,民政部门业务系统将接口挂载到数据共享平台,公积金部门业务系统与数据共享平台中民政部门挂载的接口进行对接,实现数据在民政部门业务系统和公积金部门业务系统间的接口查询,由民政部门提供住房公积金个人住房贷款购房“一件事”所需婚姻信息核验。
省自然资源厅:指导督促各市开展“不动产抵押登记”事项。负责统筹推动各市不动产登记部门与住房公积金管理部门对接,完成不动产抵押登记工作。指导督促不动产登记部门业务系统将接口挂载到数据共享平台,公积金部门业务系统与数据共享平台中不动产登记部门挂载的接口进行对接,实现数据在不动产登记部门业务系统和公积金部门业务系统间的流转,由不动产登记部门提供住房公积金个人住房贷款购房“一件事”所需不动产登记信息核验,并提供电子证照。
省营商局:负责在全省一体化政务服务平台“高效办成一件事”专区开通住房公积金个人住房贷款购房“一件事”办理入口,负责接收住房公积金个人住房贷款购房“一件事”办件数据,协调、指导公安、民政、住建、自然资源、税务、人民银行、法院等责任部门做好对接和信息共享工作,向住房公积金管理部门提供住房公积金个人住房贷款购房“一件事”所需各类政务信息和电子证照。
省税务局、大连市税务局:负责“房地产交易税费申报”事项。税务部门业务系统将接口挂载到数据共享平台,公积金部门业务系统与数据共享平台中税务部门挂载的接口进行对接,实现数据在税务部门业务系统和公积金部门业务系统间的流转,由税务部门提供住房公积金个人住房贷款购房“一件事”所需契税和商品房首付款数字化发票信息。
辽宁省高级人民法院:法院业务系统将接口挂载到数据共享平台,公积金部门业务系统与数据共享平台中法院挂载的接口进行对接,实现数据在法院业务系统和公积金部门业务系统间的流转,由法院提供住房公积金个人住房贷款购房“一件事”所需离婚判决书、调解书等电子证照信息。
中国人民银行辽宁省分行:负责“征信信息查询”事项,负责指导住房公积金管理部门做好个人信用报告查询与使用相关工作。
国家金融监督管理总局辽宁监管局:主要负责指导银行机构配合做好公积金贷款购房业务。
国家金融监督管理总局大连监管局:主要负责指导银行机构配合做好公积金贷款购房业务。
各市有关部门:各市住建、房产、公安、民政、自然资源、营商、法院、税务、住房公积金、人民银行、金融监管分局等部门根据职能职责,按照本实施方案要求,密切协同配合,提高联办效率,保障住房公积金个人住房贷款购房“一件事”在本地区的落地运行。
五、保障措施
(一)提高思想认识。各地区、各相关部门要高度重视住房公积金个人住房贷款购房“一件事”工作,切实增强使命感和责任感,协调各方力量,加快工作进度,选优配强人员,狠抓工作落实。
(二)压实部门责任。牵头部门和各责任部门要根据工作部署和职责分工,建立完善工作机制,因地制宜优化细化工作流程及工作任务,为住房公积金个人住房贷款购房“一件事”深入实施提供必要的保障,确保工作任务落地见效。
(三)加强人员培训。各有关部门要按照住房公积金个人住房贷款购房“一件事”实施方案要求,加强业务培训,规范相关事项业务办理。
(四)加强宣传引导。各地区、各有关部门要充分利用网站、新媒体、办事窗口等广泛宣传住房公积金个人住房贷款购房“一件事”相关工作。及时总结典型经验做法,收集了解群众意见建议,不断提高企业和群众的获得感和满意度。
附件:1.住房公积金个人住房贷款购房“一件事”办事指南要素表
2.住房公积金个人住房贷款购房“一件事”事项清单
3.住房公积金个人住房贷款购房“一件事”业务流程图
4.住房公积金个人住房贷款购房“一件事”联办申请表
5.住房公积金个人住房贷款购房“一件事”本人信息共享授权书
6.住房公积金个人住房贷款购房“一件事”材料清单
附件1
住房公积金个人住房贷款购房“一件事”办事指南要素表
| 基本信息 |
|||||||
| 主题集成服务名称 |
住房公积金个人住房贷款购房“一件事” |
||||||
| 主题集成服务编码 |
|||||||
| 主题集成服务类型 |
跨部门主题 |
||||||
| 行使层级 |
市级 |
||||||
| 服务对象 |
自然人 |
||||||
| 行政区划 |
|||||||
| 行政区划编码 |
|||||||
| 办理事项 |
事项(服务)名称 |
事项(服务)编码 |
|||||
| 房屋交易合同网签备案 |
|||||||
| 个人身份信息核验 |
|||||||
| 婚姻信息核验 |
|||||||
| 征信信息查询 |
|||||||
| 贷款审批 |
|||||||
| 贷款合同面签 |
|||||||
| 房地产交易税费申报 |
|||||||
| 不动产抵押登记 |
|||||||
| 申报须知 |
住房公积金个人住房贷款购房“一件事”适用于购买自住住房,申请住房公积金个人住房贷款的缴存职工(异地贷款、组合贷款、“商转公”贷款不适用)。借款申请人需提供以下申报材料:1.住房公积金个人住房贷款购房“一件事”联办申请表;2.“材料信息”项内容事项。 |
||||||
| 牵头单位 |
住房公积金管理部门 |
||||||
| 联办机构 |
住房城乡建设部门 公安部门 民政部门 人民银行 税务部门 自然资源部门 |
||||||
| 业务办理是否收费 |
否 |
||||||
| 收费标准 |
无 |
||||||
| 收费依据 |
无 |
||||||
| 网办地址 |
省一体化政务服务平台“高效办成一件事”专区 |
||||||
| 办理地址 |
个性化要素,各市自行确定 |
||||||
| 办理时间 |
线上24小时受理,线下以政务服务中心工作时间为准 |
||||||
| 办理流程 |
见流程图(附件3) |
||||||
| 咨询方式 |
12329服务热线 |
||||||
| 监督方式 |
个性化要素,各市、各部门自行确定 |
||||||
| 办理形式 |
网上办理、窗口办理 |
||||||
| 中介服务 |
无 |
||||||
| 承诺办结时限 |
9 |
||||||
| 承诺办结时限单位 |
工作日 |
||||||
| 是否支持预约办理 |
否 |
||||||
| 是否支持网上支付 |
否 |
||||||
| 是否支持物流快递 |
否 |
||||||
| 联办效能 |
(需根据各部门实际情况进行调整) 办理时间由21个工作日减少至不超过9个工作日; 提交的材料由17份减少至最多10份; 跑动次数由5次减少至最多跑1次; 办理环节由18个环节减少为11个环节。 |
||||||
| 审批结果类型 |
其他 |
||||||
| 到办事现场次数 |
1次 |
||||||
| 备注 |
无 |
||||||
| 材料信息(业务部门需确定受理所需材料) |
|||||||
| 材料名称 |
材料类型 |
材料形式 |
材料必要性 |
来源渠道 |
出具部门 |
纸质材料份数 |
|
| 有效身份证件(居民身份证、外国人永久居留证等) |
原件 |
纸质、电子 |
必要 |
政府部门核发 |
公安部门 |
1份 |
|
| 结婚证、离婚证 |
原件 |
纸质 |
必要 |
政府部门核发 |
民政部门 |
1份 |
|
| 离婚判决书或调解书 |
原件 |
纸质、电子 |
必要 |
政府部门核发 |
法院 |
1份 |
|
| 征信信息 |
原件 |
纸质、电子 |
必要 |
政府部门核发 |
人民银行 |
1份 |
|
| 房屋网签备案合同 |
原件 |
纸质、电子 |
必要 |
政府部门核发 |
住建部门 |
1份 |
|
| 不动产抵押登记证明 |
原件 |
纸质、电子 |
必要 |
政府部门核发 |
不动产登记部门 |
1份 |
|
| 户口簿 |
原件 |
纸质、电子 |
必要 |
政府部门核发 |
公安部门 |
1份 |
|
| 契税完税证明 |
原件 |
纸质、电子 |
必要 |
政府部门核发 |
税务部门 |
1份 |
|
| 新、旧不动产权证书 |
原件 |
纸质、电子 |
必要 |
政府部门核发 |
不动产登记部门 |
1份 |
|
| 个人房屋信息查询结果证明 |
原件 |
纸质、电子 |
必要 |
政府部门核发 |
不动产登记部门 |
1份 |
|
| 毕业证、学位证、《学籍在线验证报告》(符合高校毕业生贷款支持政策提供) |
原件 |
纸质 |
非必要 |
申请人自行提供 |
1份 |
||
| 出生证明(符合多子女家庭贷款支持政策提供) |
原件 |
纸质 |
非必要 |
申请人自行提供 |
1份 |
||
| 存量房资金监管证明 |
原件 |
纸质 |
非必要 |
申请人自行提供 |
1份 |
||
| 商品房首付款发票 |
原件 |
纸质 |
必要 |
申请人自行提供 |
1份 |
||
| 存量房买卖合同 |
原件 |
纸质 |
必要 |
申请人自行提供 |
1份 |
||
| 离婚协议 |
原件 |
纸质 |
必要 |
申请人自行提供 |
1份 |
||
| 结算安置单 |
原件 |
纸质 |
必要 |
申请人自行提供 |
1份 |
||
| 办理结果信息 |
|||||||
| 办理结果名称 |
办理结果类型 |
办理结果样本 |
|||||
| 住房公积金贷款购房结果 |
贷款资金发放至售房人银行账户 |
||||||
住房公积金个人住房贷款购房“一件事”事项清单
| 序号 |
涉及事项 |
责任部门 |
| 1 |
房屋交易合同网签备案 |
省住建厅 |
| 2 |
个人身份信息核验 |
省公安厅 |
| 3 |
婚姻信息核验 |
省民政厅 |
| 4 |
征信信息查询 |
人民银行辽宁省分行 |
| 5 |
贷款审批 |
省住建厅 |
| 6 |
贷款合同面签 |
省住建厅 |
| 7 |
房地产交易税费申报 |
省税务局、大连市税务局 |
| 8 |
不动产抵押登记 |
省自然资源厅 |
附件3
住房公积金个人住房贷款购房“一件事”业务流程图(新建商品房)
(各市可在符合“高效办成一件事”要求的基础上,结合本地实际对流程图进行调整)

住房公积金个人住房贷款购房“一件事”业务流程图(存量房)
(各市可在符合“高效办成一件事”要求的基础上,结合本地实际对流程图进行调整)


附件4
住房公积金个人住房贷款购房“一件事”联办申请表
(各市可结合本地实际进行修改)
| 住房公积金贷款申请信息 |
主借款人姓名 |
主借款人证件种类 |
||
| 主借款人证件号码 |
主借款人工作单位及具体部门 |
|||
| 主借款人联系电话 |
主借款人固定电话、紧急联系人及电话 |
|||
| 主借款人配偶姓名 |
主借款人配偶证件种类 |
|||
| 主借款人配偶证件号码 |
主借款人配偶工作单位及具体部门 |
|||
| 主借款人配偶联系电话 |
主借款人配偶固定电话、紧急联系人及电话 |
|||
| 共同借款人姓名 |
共同借款人证件种类 |
|||
| 共同借款人证件号码 |
共同借款人工作单位及具体部门 |
|||
| 共同借款人联系电话 |
共同借款人固定电话、紧急联系人及电话 |
|||
| 共同借款人配偶姓名 |
共同借款人配偶证件种类 |
|||
| 共同借款人配偶证件号码 |
共同借款人配偶工作单位及具体部门 |
|||
| 共同借款人配偶联系电话 |
共同借款人配偶固定电话、紧急联系人及电话 |
|||
| 主借款人婚姻状况 |
□未婚□已婚 □离婚□丧偶 |
共同借款人婚姻状况 |
□未婚□已婚□离婚□丧偶 |
|
| 主借款人家庭房屋套数 |
共同借款人家庭房屋套数 |
|||
| 主借款人已贷公积金贷款次数 |
共同借款人已贷公积金贷款次数 |
|||
| 产权比例 |
购房人1 % 购房人2 % |
享受的贷款支持政策 |
||
| 购房所在城市 |
购房所在区 |
|||
| 购房类型 |
□商品房 □存量房 |
购房地址 |
||
| 建筑面积 |
套内面积 |
|||
| 成交价格 |
购房首付款金额 |
|||
| 不动产单元号 |
网签备案合同编号 |
|||
| 购房人1姓名 |
购房人1证件类型及证件号码 |
|||
| 购房人2姓名 |
购房人2证件类型及证件号码 |
|||
| 售房人名称 |
购房项目名称 |
|||
| 售房人收款账户 |
售房人收款账户开户行 |
|||
| 申请公积金贷款金额 |
申请公积金贷款年限 |
|||
| 申请公积金贷款还款方式 |
负债金额(月还本息金额) |
|||
| 主借款人是否签订公积金按月代扣协议 |
共同借款人是否签订公积金按月代扣协议 |
|||
| 阶段性保证书(期房,开发商提供) |
购房是否有赠送的地下室、花园、阁楼等 |
|||
| 借款人还款用一类银行卡账号 |
借款人还款用一类银行卡开户行 |
|||
| 主借款人月收入金额 |
共同借款人月收入金额 |
|||
| 存量房转移登记 |
原不动产权证号 |
不动产买卖合同编号 |
||
| 不动产交易编号 |
房地产交易价格 |
|||
| 不动产单元号 |
坐落地址 |
|||
| 房屋面积 |
土地面积 |
|||
| 房屋用途 |
土地用途 |
|||
| 权利类型 |
权利性质 |
|||
| 土地使用起始时间 |
土地使用结束时间 |
|||
| 出卖人1 |
出卖人1手机号码 |
|||
| 出卖人1证件类型 |
出卖人1证件号码 |
|||
| 出卖人2 |
出卖人2手机号码 |
|||
| 出卖人2证件类型 |
出卖人2证件号码 |
|||
| 买受人1 |
买受人1手机号码 |
|||
| 买受人1证件类型 |
买受人1证件号码 |
|||
| 买受人2 |
买受人2手机号码 |
|||
| 买受人2证件类型 |
买受人2证件号码 |
|||
| 增量房首付款 发票信息 |
以下为纸质发票信息: |
|||
| 发票代码 |
发票号码 |
|||
| 机器编号 |
开票日期 |
|||
| 购买方名称 |
购买方纳税人识别号 |
自然人为身份证号 |
||
| 购买方地址、电话 |
可为空 |
购买方开户行及账号 |
可为空 |
|
| 密码区 |
货物或应税劳务、服务名称 |
|||
| 规格型号 |
可为空 |
单位 |
||
| 数量 |
单价 |
|||
| 金额 |
税率 |
|||
| 税额 |
合计 |
|||
| 价税合计(大写) |
价税合计(小写) |
|||
| 销售方名称 |
销售方纳税人识别号 |
|||
| 销售方地址、电话 |
销售方开户行及账号 |
|||
| 备注 |
一般记载房屋详细地址 |
收款人 |
||
| 复核人 |
开票人 |
|||
| 销售方:(章) |
||||
| 以下为电子发票信息: |
||||
| 发票号码 |
开票日期 |
|||
| 购买方名称 |
购买方统一社会信用代码/纳税人识别号 |
自然人为身份证号 |
||
| 销售方名称 |
销售方统一社会信用代码/纳税人识别号 |
|||
| 项目名称 |
规格型号 |
可为空 |
||
| 单位 |
数量 |
|||
| 单价 |
金额 |
|||
| 税率/征收率 |
税额 |
|||
| 合计 |
价税合计(大写) |
|||
| 价税合计(小写) |
备注 |
一般记载房屋详细地址 |
||
| 开票人 |
||||
| 契税完税证明 |
以下为完税信息: |
|||
| 业务合同编号 |
不动产单元号 |
|||
| 最终交易价格 |
完税状态 |
|||
| 以下为购方税票信息: |
||||
| 系统税票号码 |
纳税人识别号 |
|||
| 纳税人名称 |
征收项目名称 |
|||
| 征收品目名称 |
税额 |
|||
| 以下为卖方税票信息: |
||||
| 系统税票号码 |
纳税人识别号 |
|||
| 纳税人名称 |
征收项目名称 |
|||
| 征收品目名称 |
税额 |
|||
| 契税申报 (存量房) |
业务合同编号(不动产买卖合同编号) |
坐落地址 |
||
| 行政区域 |
行政区域代码 |
|||
| 街道乡镇代码 |
所属税务机关代码 |
|||
| 房屋小区代码 |
房屋产权证书号 |
|||
| 楼号 |
单元 |
|||
| 门牌号 |
||||
| 房屋类别 |
建筑结构 |
|||
| 房屋类别 |
建筑结构 |
|||
| 建筑地上层数 |
房屋起始层 |
|||
| 建筑地下层数 |
房屋截止层 |
|||
| 房屋总层数 |
房屋所在层数 |
|||
| 套内面积 |
建筑面积 |
|||
| 契税权属转移对象代码 |
房屋朝向代码 |
|||
| 交易类型 |
交易日期 |
|||
| 合同成交价格 |
不动产单元号 |
|||
| 以下为卖方信息: |
||||
| 纳税人识别号1 |
姓名1 |
|||
| 1证件类型 |
1国籍 |
|||
| 1证件号码 |
1所占份额 |
|||
| 1交易比例 |
上次取得房屋时间 |
|||
| 上次取得房屋方式 |
上次取得房屋成本 |
|||
| 1家庭地址 |
1联系电话(卖方) |
|||
| 纳税人识别号2 |
姓名2 |
|||
| 2证件类型 |
2国籍 |
|||
| 2证件号码 |
2所占份额 |
|||
| 2交易比例 |
上次取得房屋时间 |
|||
| 上次取得房屋方式 |
上次取得房屋成本 |
|||
| 2家庭地址 |
2联系电话(卖方) |
|||
| 以下为买方信息: |
||||
| 1纳税人识别号 |
1姓名 |
|||
| 1国籍 |
1证件类型 |
|||
| 1证件号码 |
1所占份额 |
|||
| 1交易比例 |
1家庭地址 |
|||
| 1联系电话(购方) |
||||
| 2纳税人识别号 |
2姓名 |
|||
| 2国籍 |
2证件类型 |
|||
| 2证件号码 |
2所占份额 |
|||
| 2交易比例 |
2家庭地址 |
|||
| 2联系电话(购方) |
||||
| 契税申报 (增量房) |
不动产权证号 |
业务合同编号(不动产买卖合同编号) |
||
| 不动产交易编号 |
房地产交易价格 |
|||
| 不动产单元号 |
坐落地址 |
|||
| 行政区域代码 |
权属转移对象 |
|||
| 权属转移用途 |
权属转移方式 |
|||
| 楼号 |
单元 |
|||
| 楼层 |
房间号 |
|||
| 结构 |
房屋朝向代码 |
|||
| 套内面积 |
房屋面积 |
|||
| 单价 |
交易价格 |
|||
| 合同金额 |
合同签订时间 |
|||
| 当期应收款金额 |
当期应收税款所属月 |
|||
| 买受人姓名1 |
纳税人识别号 |
|||
| 买受人1证件类型 |
买受人1证件号码 |
|||
| 买受人1国籍 |
买受人1联系电话(购方) |
|||
| 所占份额 |
房屋套次 |
|||
| 家庭地址 |
||||
| 买受人姓名2 |
纳税人识别号 |
|||
| 买受人2证件类型 |
买受人2证件号码 |
|||
| 买受人2国籍 |
受人2联系电话(购方买) |
|||
| 所占份额 |
房屋套次 |
|||
| 家庭地址 |
||||
| 联系电话 |
||||
| 承诺签名 |
本人核对以上填写内容正确无误并承诺以上申报信息及所提交的证明材料均真实有效,若被查证业务办理过程中存在隐瞒事实、弄虚作假行为的,本人愿意承担法律责任,接受相关部门处理,直至注销以上办理结果。 房屋出卖人签字:
申请日期 : 年 月 日 |
|||
附件5
住房公积金个人住房贷款购房“一件事”
本人信息共享授权书
(各市可结合本地实际进行修改)
尊敬的客户:为了维护您的权益,请在签署本授权书前,仔细阅读本授权书各条款,关注您在授权书中的权利、义务。
**住房公积金管理中心:
本人 身份证号码 授权贵中心在办理本人的业务时查询共享数据,共享数据包含以下信息并遵循以下条例:
一、本人同意并不可撤销地授权贵中心:贵中心在审核本人贷款申请、担保人资格、贷后管理、贷款相关的其他事项时,可以根据国家相关法律法规及业务办理需要向金融信用信息基础数据库及其他依法成立的征信机构查询、打印、保存和使用本人的基本信息和信用信息;贵中心可以按照国家相关规定采集并向金融信用信息基础数据库及其他依法成立的征信机构提供本人基本信息和信用信息。
二、若本人在贵中心业务未获批准办理,本授权书及本人信用报告等资料无须退回。
三、本授权书内容与相关业务的合同条款不一致的,无论相关合同在本授权书之前或之后签署,均应以本人授权书的内容为准,但相关合同条款明确约定是针对本授权书内容所做修订的除外。
四、本人授权公积金中心查询以下信息:
¨婚姻状况信息查询 ¨契税完税信息查询
¨不动产信息查询 ¨个人身份基础信息查询
¨征信信息 ¨增量房发票信息查询
¨其他信息查询
本人声明:本人已仔细阅读上述所有条款,贵中心已应本人要求对相关条款予以明确说明。本人对所有条款的含义及相应的法律后果已全部通晓并充分理解,本人自愿作出上述授权、承诺和声明,自愿承担可能出现的相关风险。
| 客户姓名: |
证件号码: |
| 签署日期: |
|
| 签署人: |
(为保护您的合法权益,请您完整填写空白项内容。)
附件6
住房公积金个人住房贷款购房“一件事”材料清单
| 序号 |
材料名称 |
来源渠道 |
材料形式 |
材料份数 |
材料必要性 |
备注 |
| 1 |
有效身份证件(居民身份证、外国人永久居留证等) |
政府部门核发 |
纸质、电子 |
1份 |
必要 |
|
| 2 |
结婚证、离婚证 |
政府部门核发 |
纸质 |
1份 |
必要 |
|
| 3 |
离婚判决书或调解书 |
政府部门核发 |
纸质、电子 |
1份 |
必要 |
|
| 4 |
征信信息 |
政府部门核发 |
纸质、电子 |
1份 |
必要 |
|
| 5 |
房屋网签备案合同 |
政府部门核发 |
纸质、电子 |
1份 |
必要 |
|
| 6 |
不动产抵押登记证明 |
政府部门核发 |
纸质、电子 |
1份 |
必要 |
|
| 7 |
户口簿 |
政府部门核发 |
纸质、电子 |
1份 |
必要 |
|
| 8 |
契税完税证明 |
政府部门核发 |
纸质、电子 |
1份 |
必要 |
|
| 9 |
新、旧不动产权证书 |
政府部门核发 |
纸质、电子 |
1份 |
必要 |
|
| 10 |
个人房屋信息查询结果证明 |
政府部门核发 |
纸质、电子 |
1份 |
必要 |
|
| 11 |
毕业证、学位证、《学籍在线验证报告》(符合高校毕业生贷款支持政策提供) |
申请人自行提供 |
纸质 |
1份 |
非必要 |
|
| 12 |
出生证明(符合多子女家庭贷款支持政策提供) |
申请人自行提供 |
纸质 |
1份 |
非必要 |
|
| 13 |
存量房资金监管证明 |
申请人自行提供 |
纸质 |
1份 |
非必要 |
|
| 14 |
商品房首付款发票 |
政府部门核发 |
纸质 |
1份 |
必要 |
|
| 15 |
存量房买卖合同 |
申请人自行提供 |
纸质 |
1份 |
必要 |
|
| 16 |
离婚协议 |
申请人自行提供 |
纸质 |
1份 |
必要 |
|
| 17 |
结算安置单 |
申请人自行提供 |
纸质 |
1份 |
必要 |
白菜网 办公室 2024年10月22日印发

